Aluminium Venetian Blinds
Sleek, stylish, and built to last - our Aluminium Venetian Blinds are available in 25mm, 35mm, and 50mm slat sizes to suit any window and interior style. Choose your preferred control side for a tailored fit, with an optional tri-wand available on the left or right.
These blinds also offer a privacy option with 25mm slats for enhanced light control and discretion. Perfect for both residential and commercial spaces.



Extensive selection of slat colours and textures

25mm, 35mm and 50mm slat sizes

Mixed slats and tensioned option available
Colour Options
Aluminium Slat Colours - 25mm, 35mm & 50mm

Shades of Grey
28 colours

Creams
22 colours

Wood
10 colours

Metallic
28 colours

Perforated
6 colours

Vivid
28 colours
Sample Swatch
Technical Specifications
Aluminium Venetians | Min & Max sizes
Range | Min. width | Max. width | Min. drop | Max. drop |
---|---|---|---|---|
ALUMINIUM VENETIAN - 25mm SLAT | 120mm | 3000mm | 100mm | 3000mm |
ALUMINIUM VENETIAN - 35mm SLAT | 250mm | 3000mm | 100mm | 3000mm |
ALUMINIUM VENETIAN - 50mm SLAT | 250mm | 3000mm | 100mm | 3000mm |
TENSIONED ALUMINIUM VENETIAN - 25mm SLAT | 162mm | 1400mm | 150mm | 3000mm |
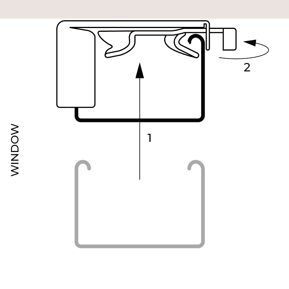
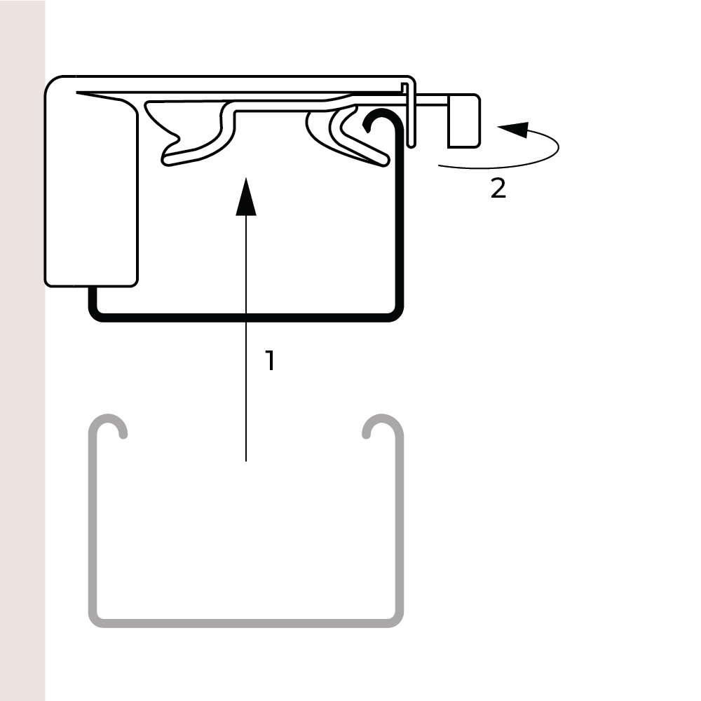
Measuring Guide
Inside Recess Installation

1. Measure the width of the recess at the top, middle, and bottom. Use the smallest measurement.
2. Measure the height of the recess from the top to the windowsill in three places. Use the smallest measurement.
Outside Recess Installation

1. Measure the width of the area you want the blind to cover, adding at least 50mm on each side.
2. Measure the height from where the blind will be mounted to the desired length, adding at least 50mm below the windowsill for proper coverage.







Our Wowvow Promise
You choose how much to pay.

Five Year Warranty
For your peace of mind!

Made in Britain
Going beyond the certificate.